Electric installation details of telephone office dwg file
Description
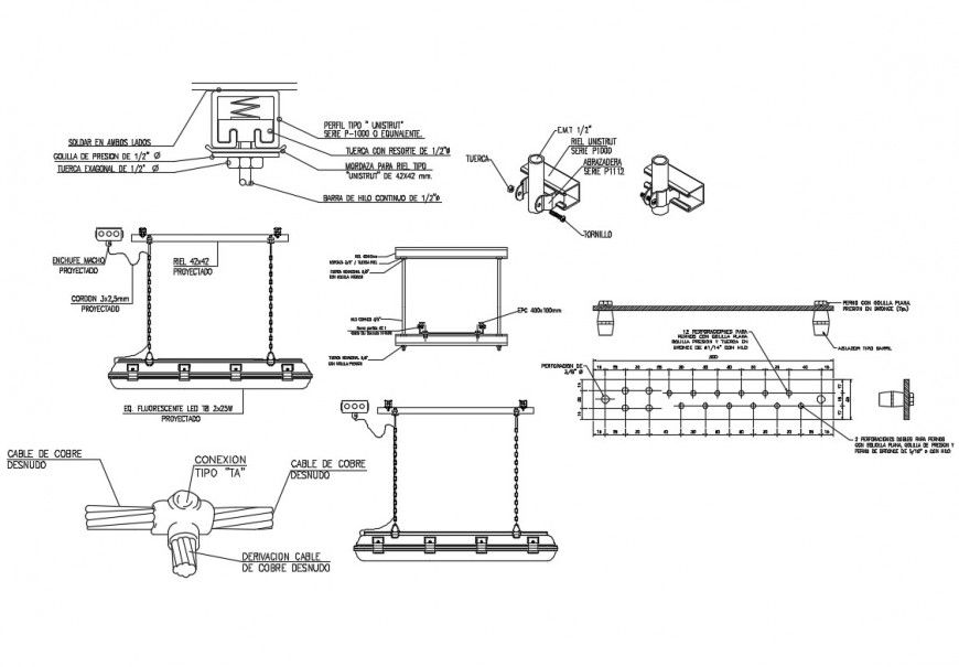
Electric installation details of telephone office that inclides a detailed view of electrical installation project site, existing unilineal diagram, al-01 from tgauxg existing to tgauxa, electrical connection, s / e electrical existing, general feeder, description of symbology, sub-electric station, concrete post h: 11 (m), electric camera 700x700 (mm), thermomagnetic switch, transient suppressor, electrical lighting board and much more of electrical installation details.
File Type:
DWG
File Size:
1.6 MB
Category::
Electrical
Sub Category::
Electrical Automation Systems
type:
Gold

Uploaded by:
Eiz
Luna

