Bevel joint for frame support section with structural design dwg file
Description
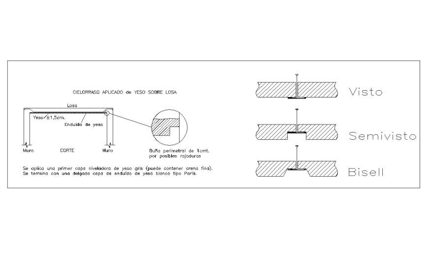
Bevel joint for frame support section with structural design dwg file in elevation with view of area and view with sectional area and wall and wall support area view with design and different joint area view.
Uploaded by:
Eiz
Luna

