Power circuit detail elevation 2d view layout file
Description
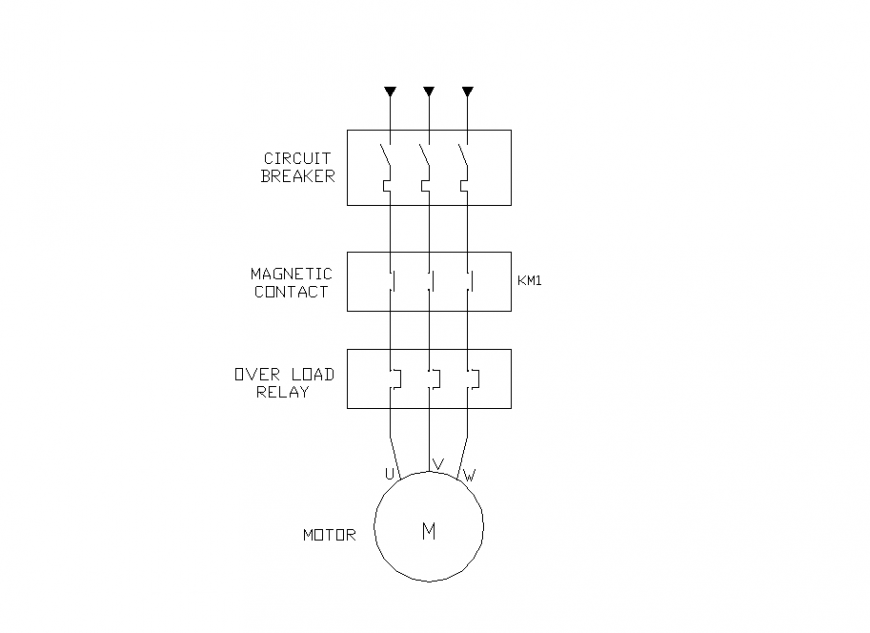
Power circuit detail elevation 2d view layout file, circuit breaker detail, earthing wire detail, magnetic contact detail, plug detail, switch detail, overload relay detail, direct current detail, electric motor detal, current flow detail, voltage control detail, etc.
File Type:
DWG
File Size:
282 KB
Category::
Electrical
Sub Category::
Electrical Automation Systems
type:
Gold
Uploaded by:
Eiz
Luna

