AutoCAD Mechanical Blocks
Description
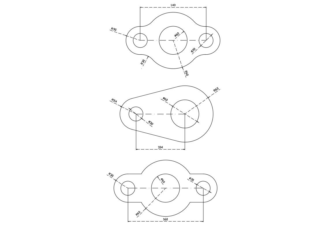
2d drawing details of mechanical joints blocks which shows the nut bolt spacing details along with dimension details.
File Type:
DWG
File Size:
130 KB
Category::
Mechanical and Machinery
Sub Category::
Other Cad Blocks
type:
Free
Uploaded by:

