Chest Presser Machine Elevation Design AutoCAD Drawing Free Download
Description
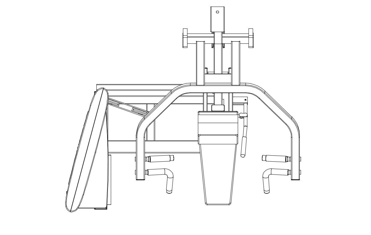
Top elevation design of chest press machine units that shows machine handle units along with weight blocks details download 2d AutoCAD drawing for free.

Uploaded by:
akansha
ghatge

