Interior transverse section view of 1.1x2.1m armored door plan is given in this Autocad drawing file.Download the Autocad file.
Description
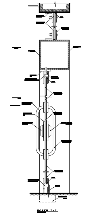
Interior transverse section view of 1.1x2.1m armored door plan is given in this Autocad drawing file. A section view of the door is given in this model. Measurement details are mentioned in this drawing model. For more details download the Autocad file. Thank you for downloading the Autocad file and other CAD program files from our website.
File Type:
DWG
File Size:
357 KB
Category::
Dwg Cad Blocks
Sub Category::
Windows And Doors Dwg Blocks
type:
Free
Uploaded by:

