15x6 Meter Basement Plan AutoCAD Layout
Description
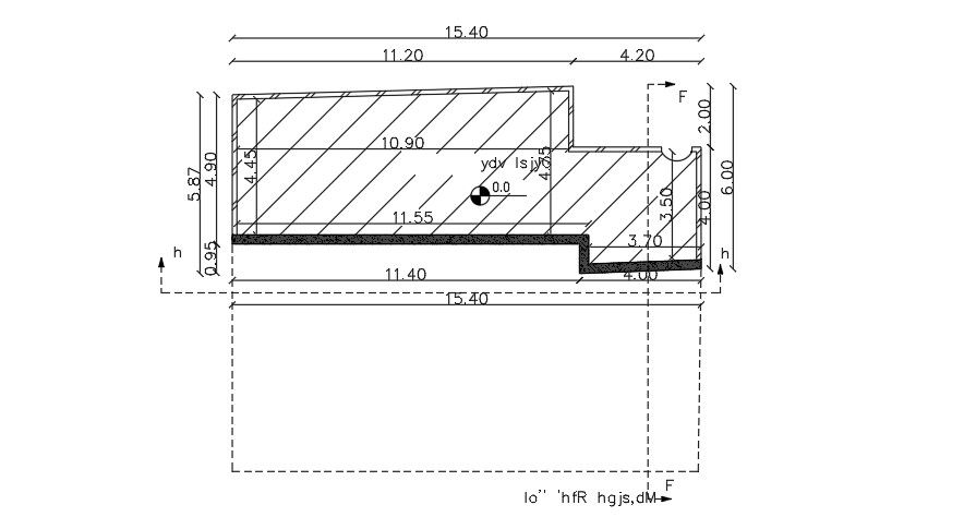
The House plan layout shows a 15x6 meter size. House plan Layout includes column placement, wall detail, and inside staircase is available. dimensions are in a meter. Thank you for downloading the AutoCAD drawing file and other CAD program files from our website. Visit CADBULL.COM Site.
Uploaded by:
K.H.J
Jani

