Side Elevations Of 13x15 meter House AutoCAD File
Description
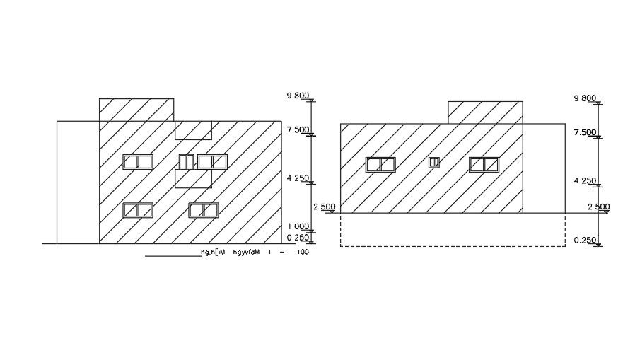
Elevation Of 13x15 Meter House Building DWG File shown in the file. the left side elevation Of the Elevation Building AutoCAD File is shown in this drawing file. The left side elevation of the building includes window and door sizes. Thank you for downloading the AutoCAD drawing file and other CAD program files from our website. Visit CADBULL.COM Site.
Uploaded by:
K.H.J
Jani

