Refrigerant pipe insulation and vapour sealed AutoCAD drawing
Description
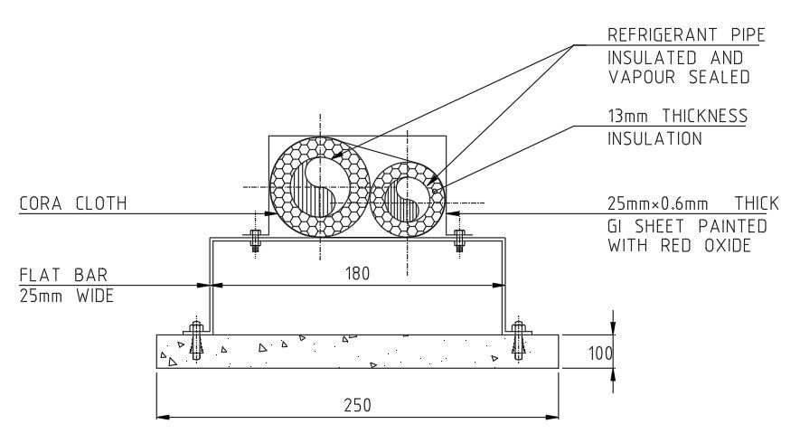
Refrigerant pipe insulation and vapour sealed AutoCAD drawing. 13mm thickness insulation is provided. Cora cloth, flat bar 25mm wide, 25x0.6mm thickness of the GI sheet painted with red oxide, and other details are mentioned. For more details download the AutoCAD drawing file from our cadbull website.
Uploaded by:

