Cross section BB' of power supply system
Description
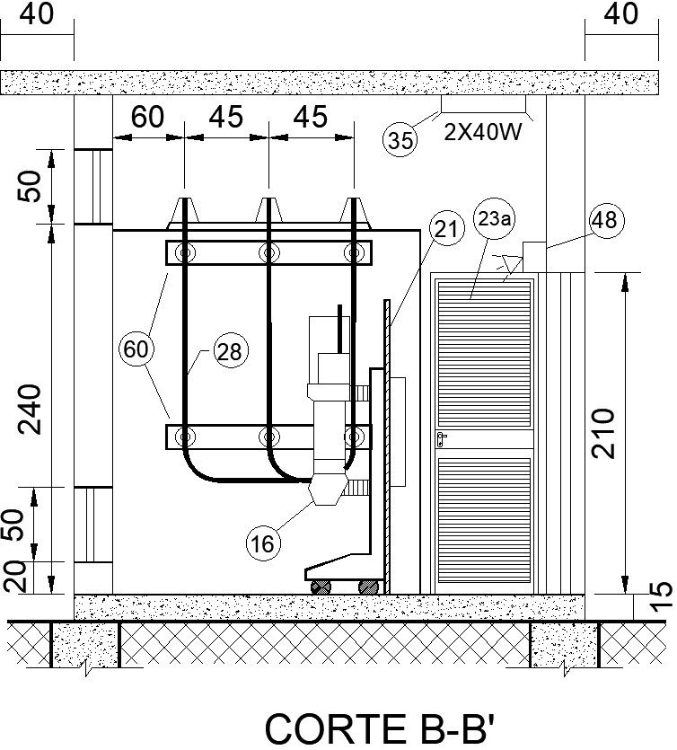
This architectural drawing is Cross section BB' of power supply system. The height of the cross section is 320cm. There were given Door height is 210cm. Thickness of slab is 15cm. Measurement, protection and transformation substation above 300KVa, underground input and output etc. are given. For more details and information download the drawing file.
File Type:
DWG
File Size:
121 KB
Category::
Electrical
Sub Category::
Electrical Automation Systems
type:
Gold
Uploaded by:
viddhi
chajjed

