Sentry box design with dimensions and details in AutoCAD 2D drawing, CAD file, dwg file
Description
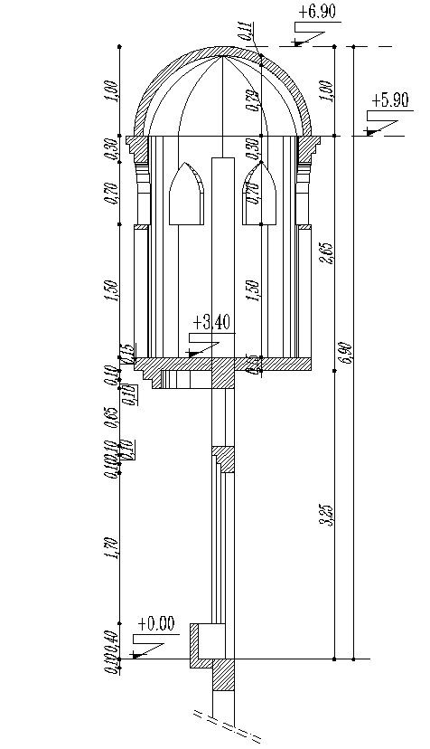
This architectural drawing is a Sentry box design with dimensions and details in AutoCAD 2D drawing, CAD file, and dwg file. A sentry box is a tiny shelter with an open front where a sentry or guard might stand to be protected from the elements. For more details and information download the drawing file. Thank you for visiting our website cadbull.com.
Uploaded by:
viddhi
chajjed

