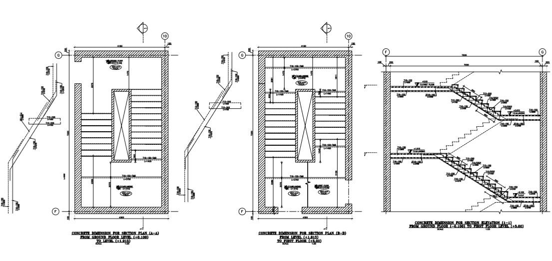
staircase structure plan and strucural detail of a building
Description
stair structure plan and structural detail of a building
structural detail plans and a section of a building, with all measurements,
reinforcement detail of trade and riser
levels detail
Uploaded by:

