LOGIN
HOME
CATEGORIES
UPLOAD FILE
PRICING
HOUSE PLAN
ABOUT US
CONTACT US
Detail of hydrocarbon tank
Home
Categories
Details
Construction Details
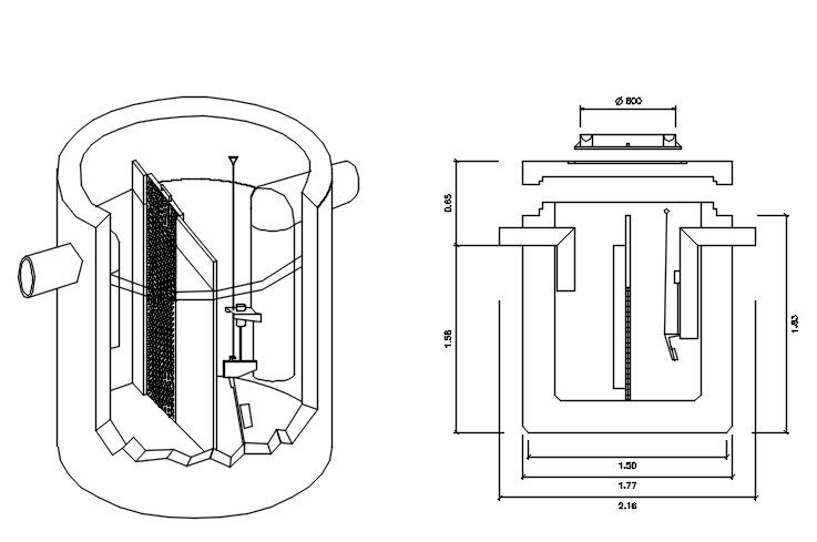
Detail of hydrocarbon tank
Uploaded by:
Vaas
View Profile
View Profile
Description
Detail of hydrocarbon tank. isometric view and section view with detail and dimensions.
File Type:
DWG
File Size:
222 KB
Category::
Details
Sub Category::
Construction Details
type:
Gold
Uploaded by:
Vaas
View Profile
Download
Add to libary
find Latest
Related
Files