Internal FHC details with sprinkle and drain pipe cad machinery details dwg file
Description
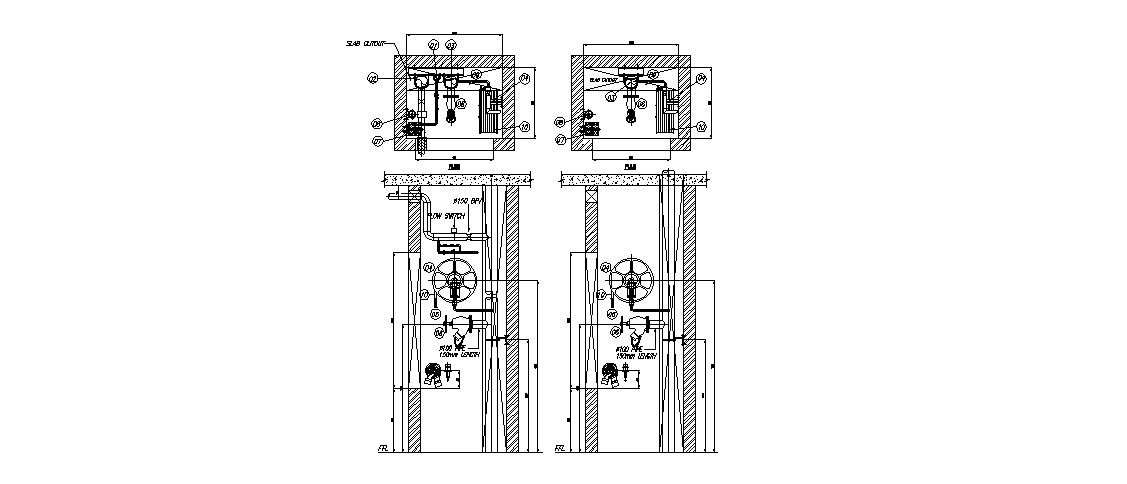
Internal FHC details with sprinkle and drain pipe cad machinery details that includes a detailed view of mounting details, details for shoes, pipe length details, valve details, dimensions details and much more of machinery details.
File Type:
DWG
File Size:
2.2 MB
Category::
Mechanical and Machinery
Sub Category::
Factory Machinery
type:
Free
Uploaded by:

