House and foundation of manposteria foundation detail dwg file
Description
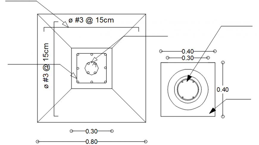
Autocad drawing of House and foundation of manposteria foundation details showing plan and section of foundation with column having details of material description, important dimensions, reinforcement details, etc.
File Type:
DWG
File Size:
390 KB
Category::
Construction
Sub Category::
Construction Detail Drawings
type:
Gold
Uploaded by:
Eiz
Luna
