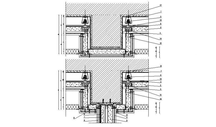
Drawing details of structural blocks 2d view autocad software file
Description
Drawing details of structural blocks 2d view autocad software file that shows concrete masonry details along with bolted welded joints and connections details. Dimension and other details are also shown in drawing.
File Type:
DWG
File Size:
116 KB
Category::
Construction
Sub Category::
Construction Detail Drawings
type:
Gold
Uploaded by:
Eiz
Luna

