Horizontal Shaft Wall With Pipe Section Drawing AutoCAD File
Description
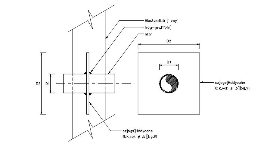
The AutoCAD drawing of horizontal shaft wall with pipe installation section drawing that shows front and side view design. The wall cut liner panel to fit around penetrate aftermath insulation in cavity. Thank you for downloading the AutoCAD file and other CAD program from our website.
File Type:
DWG
File Size:
116 KB
Category::
Dwg Cad Blocks
Sub Category::
Autocad Plumbing Fixture Blocks
type:
Gold
Uploaded by:

