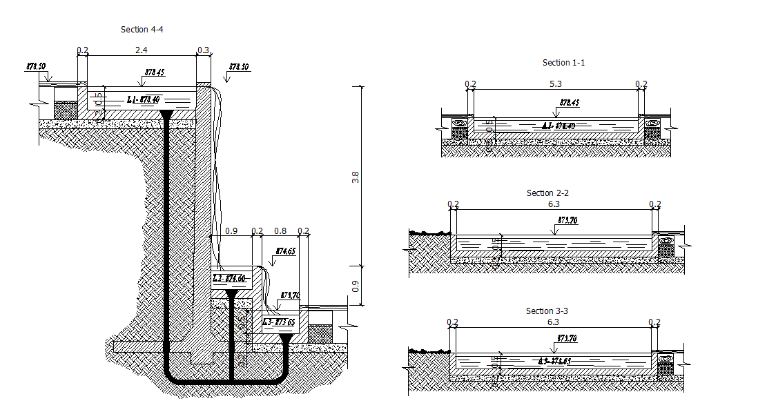
Waterfall fountain detailing
Description
Waterfall fountain detailing , sectional details of the waterfall is shown with dimensions
File Type:
DWG
File Size:
104 KB
Category::
Dwg Cad Blocks
Sub Category::
Cad Logo And Symbol Block
type:
Free
Uploaded by:
