2 d cad drawing of hygiene services auto cad software
Description
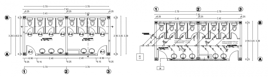
2d cad drawing of hygiene services autocad software tht detailed with mall closet and wash basin with door and dimensions been provided four closet and three basins.
File Type:
DWG
File Size:
285 KB
Category::
Dwg Cad Blocks
Sub Category::
Sanitary CAD Blocks And Model
type:
Gold
Uploaded by:
Eiz
Luna

