Soap holder cad blocks plan in AutoCAD, dwg file.
Description
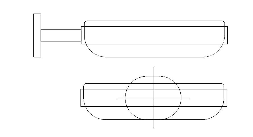
This Architectural Drawins is AutoCAD 2d drawing of Soap holder cad blocks plan in AutoCAD, dwg file. As its name suggests, a soap saver is a bathroom accessory that helps extend the lifespan of your bars. Instead of storing your soap bar on a bathroom ledge, where it never fully dries, soap savers keep your bars in top shape by lifting them off the ground.

Uploaded by:
Eiz
Luna

